Подрозетник Diamond Hit с пылеудалением 72 мм (DH-WD)
- Наличными
- Безналичный расчет
- Банковский счет
Прежде чем приступить к использованию данного изделия внимательно изучите эту Инструкцию. Строго соблюдайте правила техники безопасности применяемого Вами оборудования.
ТЕХНИЧЕСКИЕХАРАКТЕРИСТИКИ Сверла алмазные кольцевые для подрозетников предназначены для скоростного сверления армированного, неармированного бетона, кирпича, ФБС и других строительных материалов, с использованием ручного электроинструмента без охлаждения водой.
ОБЛАСТЬ ПРИМЕНЕНИЯ
Легко армированный бетон, бетонные блоки, кирпич, газо и пенобетон
Тест:
Бетон М400, дрель 1500Вт, 3000 об/мин
Ресурс- 100 отверстий.
Скорость - 2,0 минуты/6,5 см
ОБОРУДОВАНИЕ
Рекомендуемое оборудование: ударные дрели мощностью от 1000-1200 Вт.
Перфоратор - от 850 Вт (в режиме вращения, без удара)
Рекомендованные обороты: от 1500 до 3000 об./мин*.
Рабочая длина сверла 65 мм, посадочная резьба М16. Возможно использование с центровочным твердосплавным сверлом и переходником M16 или шестигранник. Сверла SF DE-D70 предназначены для работы с пыле-отводом (приобретается Отдельно). В этом случае применение пылесоса - ОБЯЗАТЕЛЬНО!
РЕКОМЕНДАЦИИ ПО ПРОВЕДЕНИЮ РАБОТ
1. Убедитесь в возможности проведения работ. Убедитесь в отсутствии скрытой проводки и иных внутренних коммуникаций. Убедитесь в том, что приобретённое алмазное сверло предназначено для обработки выбранного материала. Обозначьте центр
2. Нанесите разметку согласно техническому заданию. отверстия.
3. Просверлите отверстие в обозначенный центр на глубину 3-4 см (рис. 1).
4. Соедините адаптер М16/шестигранники кольцевое алмазное сверло для Подрозетника. Вставьте центровочное сверло в адаптер и установите в патрон дрели (рис. 2),.
5. Переключите дрель в БЕЗУДАРНЫЙ режим.
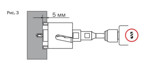
6. Включите дрель на рекомендованные обороты. Направляя центровочное сверло в заранее сделанное отверстие, сделайте запил алмазным сверлом приблизительно на 5 мм (рис. 3)
7. Остановите дрель, извлеките центровочное сверло из адаптера (рис. 4).
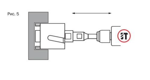
8. Включите дрель на рекомендованные обороты и продолжайте сверление по сделанному запилу до необходимой глубины. В процессе сверления рекомендуем осуществлять возвратно-поступательные и покачивающие Движения (рис. 5).
9. ПО ОКОНЧАНИИ СВЕРЛЕНИЯ, НЕ ОСТАНАВЛИВАЯ ДРЕЛЬ, ИЗВЛЕКИТЕ АЛМАЗНОЕ КОЛЬЦЕВОЕ СВЕРЛО ИЗ ОТВЕРСТИЯ И ТОЛЬКО ПОСЛЕ ЭТОГО ОСТАНОВИТЕ ДРЕЛЬ.
10. Удалите керн из просверленного отверстия.
11. Очистите отверстие от пыли.
12. При снижении режущей способности сверла следует произвести вскрытие алмазного слоя, просверлив несколько отверстий в абразивном материале. Рекомендуется применение специализированных абразивных кругов DELTA Diamond Tools.
* Рекомендуемые производителем обороты 2500 об./мин.
Оформить заказ на нашем сайте легко. Просто добавьте выбранные товары в корзину, а затем перейдите на страницу Корзина, проверьте правильность заказанных позиций и нажмите кнопку «Оформить заказ» или «Быстрый заказ».
Функция «Быстрый заказ» позволяет покупателю не проходить всю процедуру оформления заказа самостоятельно. Вы заполняете форму, и через короткое время вам перезвонит менеджер магазина. Он уточнит все условия заказа, ответит на вопросы, касающиеся качества товара, его особенностей. А также подскажет о вариантах оплаты и доставки.
По результатам звонка, пользователь либо, получив уточнения, самостоятельно оформляет заказ, укомплектовав его необходимыми позициями, либо соглашается на оформление в том виде, в котором есть сейчас. Получает подтверждение на почту или на мобильный телефон и ждёт доставки.
Выберите из списка название вашего региона и населённого пункта. Если вы не нашли свой населённый пункт в списке, выберите значение «Другое местоположение» и впишите название своего населённого пункта в графу «Город». Введите правильный индекс.
В зависимости от места жительства вам предложат варианты доставки. Выберите любой удобный способ.
Оплата
Выберите оптимальный способ оплаты.
Введите данные о себе: ФИО, адрес доставки, номер телефона. В поле «Комментарии к заказу» введите сведения, которые могут пригодиться курьеру, например: подъезды в доме считаются справа налево.
Проверьте правильность ввода информации: позиции заказа, выбор местоположения, данные о покупателе. Нажмите кнопку «Оформить заказ».
Наш сервис запоминает данные о пользователе, информацию о заказе и в следующий раз предложит вам повторить к вводу данные предыдущего заказа. Если условия вам не подходят, выбирайте другие варианты.
Для юридических лиц
Для юридических лиц — наличными деньгами или безналичным перечислением денежных средств на расчетный счет компании после согласования суммы платежа и выставления счета менеджером.
Для физических лиц
- наличными деньгами — при доставке товара курьером или при расчете в офисе;
- безналичным перечислением на расчетный счет компании;
- банковским переводом после согласования и получения счета у менеджера.
В зависимости от условий поставки и вида продукции заказчикам может предоставляться рассрочка платежа или постоплата. Получение техники и оборудования возможно при наличии соответствующих платежных документов и доверенности, заверенной печатью.
«ТУЛ ИМПЭКС» доставляет профессиональное технологическое оборудование, технику и строительный инструмент для монтажа инженерных систем во все регионы России.
Доставка курьером
Доставка курьером компании производится в пределах Московской области. Курьер созванивается с заказчиком за час до ранее согласованных на сайте компании даты и времени доставки товара.
Оформление заявок на доставку курьерской службой: с 10:00 до 22:00. Доставка технологического оборудования, техники и инструментов в другие регионы страны осуществляется компаниями-перевозчиками по их тарифам.
Доставка транспортной компанией
Мы сотрудничаем с ведущими транспортными компаниями России: КИТ, ПЭК, СДЭК, «Деловые линии» и другими. Заказчик сам выбирает компанию-перевозчика.
Товар доставляется в течение 1-3 рабочих дней с 8.00 до 21.00.
Стоимость доставки по Москве и области:
- Бесплатно курьером — при сумме заказа свыше 10 000 рублей.
- При сумме заказа менее 10 000 рублей — 500 рублей.
- Бесплатно службами «ТУЛ ИМПЭКС» — доставка товара до транспортных компаний в пределах МКАД.
Самовывоз
Самовывоз со склада в рабочее время: Пн. – Вс.: с 09:00 до 18:00.
Адрес: 129515, г. Москва, 2-я Останкинская улица, 1с1
Характеристики
|
Тип
|
Алмазная |
|
Высота сегмента
|
10 |
|
Производитель
|
DELTA Diamond Tools Россия |
|
Диаметр в мм
|
72 |
|
Соединение шпинделя
|
М16 |
|
Длина мм
|
70 |
|
Количество сегментов
|
6 |
|
Ресурс
|
60 отверстий. |
|
Сухое сверление
|
Да |
|
Сверление с водой
|
Да |
|
Диаметр корпуса
|
71 |
|
Материал
|
Армированный бетон, бетонные блоки, кирпич, газо и пенобетон |
|
Модель
|
DH-WD |









